Mark Goresky to Discuss the Early History of Modern Wireless Communications in Lecture at Institute for Advanced Study

Mark Goresky to Discuss Wireless Communications

PRESS CONTACT: Katherine Belyi, (609) 951-4406

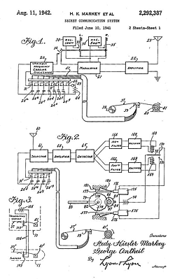
Cellular telephones, GPS, radar imaging and most other modern wireless systems would not exist without the sophisticated mathematical and digital techniques that are used to encode and decode their messages. On Wednesday, April 24, Mark Goresky, Long-term Member in the School of Mathematics, will describe a remarkable story in the history of these techniques in a public lecture, “A Hollywood Celebrity, the ‘Bad Boy’ of Music, and the History of Modern Wireless Communications.” The lecture will take place at 4:30 p.m. in Wolfensohn Hall on the Institute campus.

“Spread spectrum” methods of encoding and decoding messages, under continuous development since the 1960s, have facilitated spectacular improvements in the performance and reliability of wireless communications. Goresky will explore how, to some extent, the origins of spread spectrum can be traced back to an unlikely collaboration in 1942 between a glamorous Hollywood film star and a renegade composer from Trenton, New Jersey.

Goresky has made important contributions to a wide range of mathematical fields, including theoretical computer science, geometry, topology and representation theory. Along with Robert MacPherson, Hermann Weyl Professor at the Institute, he created the theory of intersection homology, a major turning point in the mathematics of singularities. He is the author of several books, including Hilbert Modular Forms with Coefficients in Intersection Homology and Quadratic Base Change (with Jayce Getz, Birkhäuser, 2012); Algebraic Shift Register Sequences (with Andrew Klapper, Cambridge University Press, 2012); and Stratified Morse Theory (with Robert MacPherson, Springer, 1988).

Goresky received his Ph.D. from Brown University in 1976. He has served as Assistant Professor of Mathematics at the University of British Columbia and Professor of Mathematics and Computer Science at Northeastern University. He was first a Member at the Institute from 1985–86, and became a Long-term Member in 1994. Among other honors, he has received the Coxeter-James Prize and the Jeffrey-Williams Prize of the Canadian Mathematical Society. He was awarded the Steele Prize for Seminal Contribution to Research from the American Mathematical Society in 2001, together with MacPherson. He is a fellow of the Royal Society of Canada and the American Mathematical Society.

For further information about the lecture, which is free and open to the public, call (609) 734-8175, or visit the Institute website, www.ias.edu.

About the Institute for Advanced Study

The Institute for Advanced Study is one of the world’s leading centers for theoretical research and intellectual inquiry. The Institute exists to encourage and support curiosity-driven research in the sciences and humanities—the original, often speculative thinking that produces advances in knowledge that change the way we understand the world. Work at the Institute takes place in four Schools: Historical Studies, Mathematics, Natural Sciences and Social Science. It provides for the mentoring of scholars by a permanent Faculty of approximately 30, and it ensures the freedom to undertake research that will make significant contributions in any of the broad range of fields in the sciences and humanities studied at the Institute.

The Institute, founded in 1930, is a private, independent academic institution located in Princeton, New Jersey. Its more than 6,000 former Members hold positions of intellectual and scientific leadership throughout the academic world. Thirty-three Nobel Laureates and 40 out of 56 Fields Medalists, as well as many winners of the Wolf and MacArthur prizes, have been affiliated with the Institute.